湖南省肉类协会欢迎您! 2026年05月27日 星期三
当前位置:首页 > 价格行情 > 湖南省畜禽屠宰重点企业价格行情
在线留言
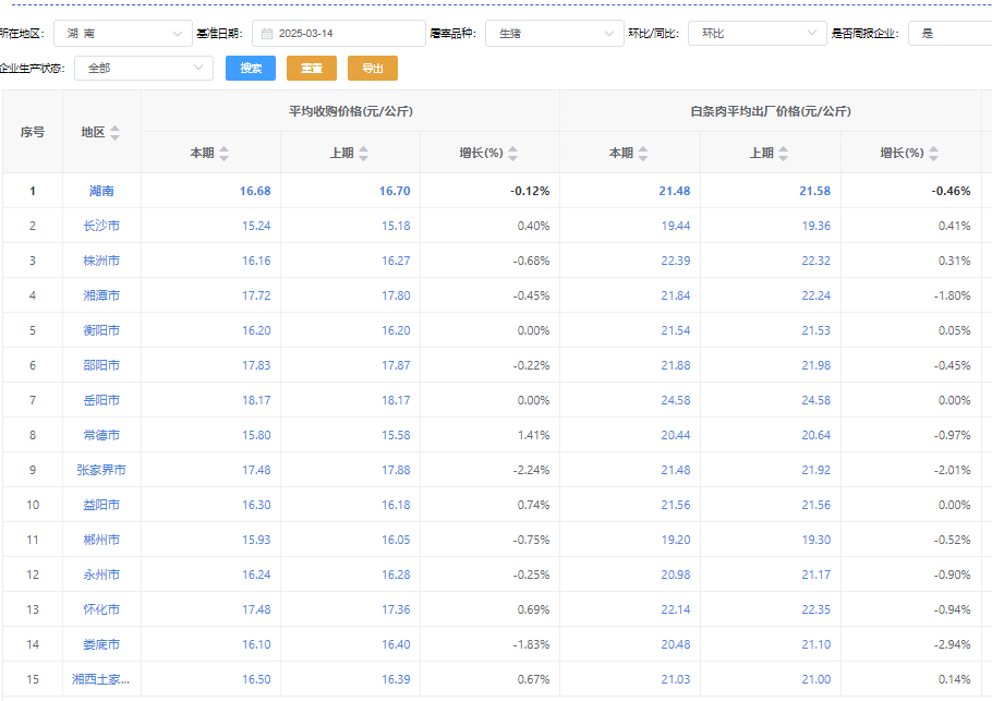
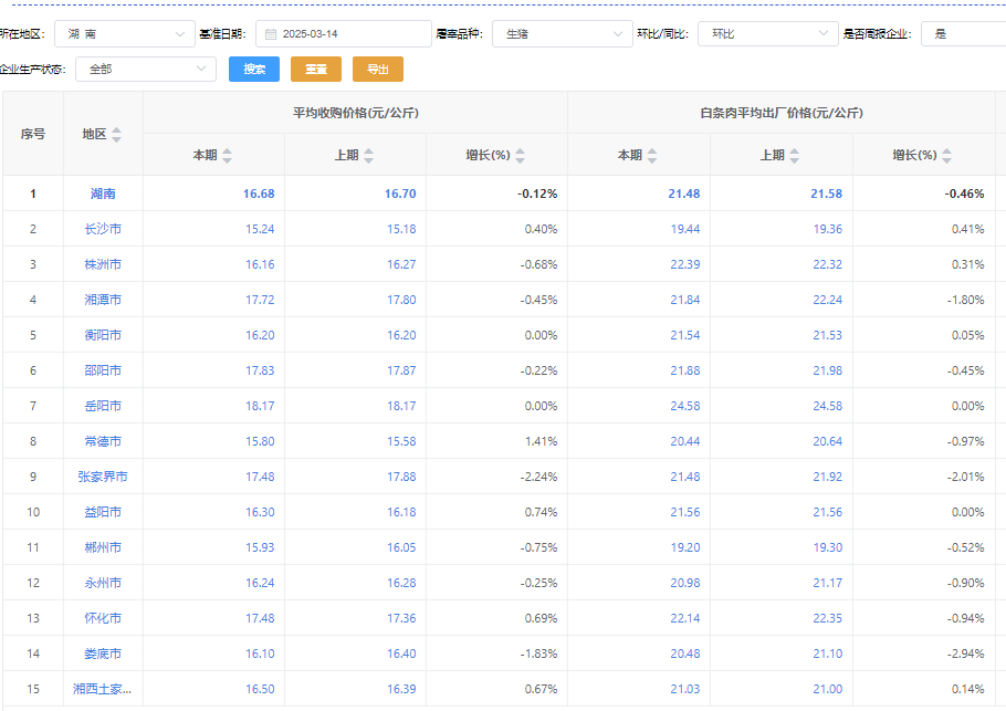
湖南省畜禽屠宰重点企业价格行情
阅读:75     发布时间:2025-03-20

659764ffe23625f8d805c5f2dd3b12e.png

020e0384ef2c3b2f6cd50cdab5b5ea6.png

1742460557574296.png

2c52ae23f5e42eabd0139af78807a22.png

网站首页协会动态行业动态通知公告法律法规会员之窗在线留言联系我们

湖南省肉类协会 地址:长沙市开福区五一大道北栋 版权所有:湖南省肉类协会

湘ICP备17007408号

电话: 0731-85554008 邮箱: hnrlxh@163.com 传真: 0731-85554008 QQ群: 5813759